11年專業銷售工程師-徐工
15年專業銷售工程師-謝工
9年專業銷售工程師-王工
6年銷售工程師-張工
項目產品選型、技術指導高級電器工程師-李工
| 分類 | |
| 品牌 |
| 分類 | |
| 品牌 |
| 分類 | |
| 品牌 |
| 分類 |
|
| 品牌 |
|
優勢一:廣州南創是一家大型傳感器、儀器儀表、工業備品備件供應商!中國傳感器聯合會誠信“AAA”級成員,多家世界知名傳感企業中國市場開拓核心合作伙伴;
優勢二:完善的全國銷售服務網絡:12個區域辦事處、20個分公司、遍布全國的售后服務網點,為您及時便捷實現上門無憂售后服務;
優勢三:為國內多家知名大中型工業企業、航天工業企業提供國際工業自動化控制檢測設備及工業稱重系統和傳感器設備儀表,緊密依托中科院及清華大學的技術支持合作交流。技術、產品可靠值得信賴;
優勢四:鄭重承諾:三個月內產品有質量問題無條件退換貨;
優勢五:資深工程師為您提供全方位完善的一條龍銷售服務指導,售前專業方案設計、產品選型指導,售中安裝調試,售后三年上門免費跟蹤維修服務;
優勢六:全國優勢價格支持銷售,凡在我們公司購買產品,如果同類產品高于主流市場價格,我們雙倍補還差價,性價比高!
優勢七:我公司在國外設有7個境外專業采購中心,保證原裝進口,貨期快捷,價格具有優勢,可靠、放心
優勢八:我公司代理經銷169個品牌,全國同類產品系列全、品種多、多家知名企業中國合作伙伴代理。
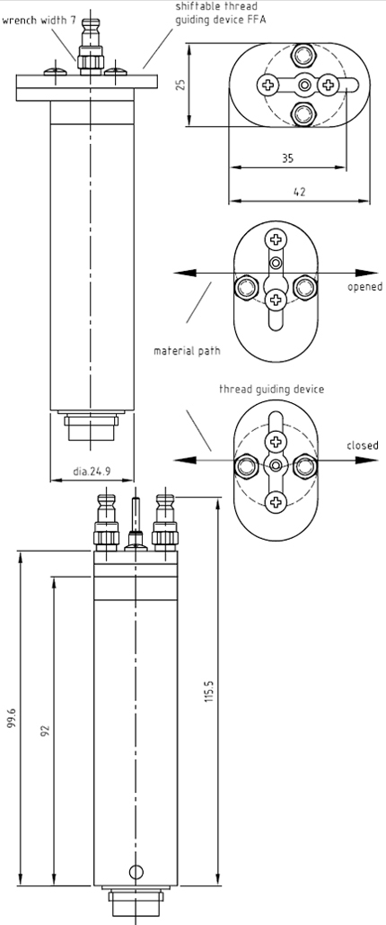
廣州南創專業提供美國CHECKLINE_125-12限接拉力計,原裝正品,質量保證,貨期短,美國CHECKLINE打造頂級傳感器品牌,【華南區★一級經銷商】做中國的,世界的工業備品備件分銷專家WTS軸端卷筒張力傳感器訂購方便,還可以享受當地個性化支持,技術支持,歡迎來電訂購。

125-12限接拉力計有7個量程范圍
0-10g至0-500g
125-12系列張力計非常緊湊,可用于訪問空間有限的低張力應用。它們配有陶瓷導線器或裝有精密滾珠的滾子。
高過載保護和可選的防水設計使該模型非常適合所有實驗室和生產。
為每個傳感器提供兩種表面光滑且摩擦系數低的陶瓷導線,以完成各種測量任務:
左側:
•結構化的表面(桔皮),特別是用于扁平紗
右側:
•拋光的表面,例如用于變形紗
可選的,可移動的導線導向裝置FFA可在運行過程中提供舒適,順暢的穿線。


| 測量原理 | 電容感應 |
| 張力范圍 | 0-10g,0-20g,0-30g,0-50g,0-100g,0-200g,0-300g,0-500g |
| 準確性 | ±1.0%或更高 |
| 材料變形 | 15度 |
| 線程指南 |
陶瓷銷(標準) 滾珠軸承滾子(可選) |
| 外型尺寸 | 100mm x 25mm直徑 |
| 重量 | 100克 |
| 選件 |
外線導板移位板 滾珠軸承滾子 防濺保護 特殊線導設計 |
| 校準證書 | 可選的 |
【廣州★南創】專業供應美國CHECKLINE張力傳感器,【美國CHECKLINE張力傳感_125-12限接拉力計】保證貨期快捷,原裝正品,10年行業經驗專注高端高質傳感器服務,提供自動化完整解決方案。美國CHECKLINE張力傳感器-MST張力傳感器相關型號:125-12-10、125-12-20、125-12-30、125-12-50、125-12-100、125-12-200、125-12-300、125-12-500
除125-12限接拉力計器外其他熱銷型號推薦如下:
SY電纜/鋼絲繩張力計、RMA傳感器、DTS手持式數字張力計、DTXE手持式數字張力計、125-S-HDI手持張力傳感器、SW-HHP手持顯示器、LPCH-50t、
本站內容未經許可禁止復制轉載!©2002 廣州南創電子科技有限公司
聯系電話:020-82303306 公司傳真:020-82303511下班及雙休日請撥打各品牌負責人電話電話詳情
備案號: 粵ICP備11086172號-1